Компютри и периферия
Apple патентова мишка за ползване с двете ръце
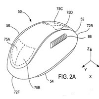
Поредният патент на Apple е за мишка, която може да разпознава дали потребителят работи с лявата или с дясната ръка. Подобна технология може и да не изглежда толкова важна, тъй като в момента мишките на Apple използват сензорна повърхност без бутони, но явно с патента компанията планира да раздели повърхността на отделни зони. Интересната част на патента е, че мишката ще може да разпознава различните потребители по разликите в захвата им. Идеята на разпознаването на потребителите и техните леви и десни ръце е, че мишката автоматично ще преконфигурира сензорните бутони според това с коя ръка работите.
Оферти на деня
-
Samsung Galaxy A56 от ОфисиТЕ:
128GB + 8GB RAM 319 € (623.91 лв.), 256GB + 8GB RAM 367 € (717.79 лв.), 256GB + 12GB RAM 423.86 € (829.00 лв.) -
Apple iPhone 16 от BUYBEST:
128GB 729 € (1425.80 лв.), 512GB 969 € (1895.20 лв.) -
Samsung Galaxy S25 Ultra от Ozone.bg:
256GB + 12GB RAM 1039 € (2032.11 лв.), 512GB+12GB RAM 1149 € (2247.25 лв.) -
Samsung Galaxy A17 5G от AMCO:
128GB + 4GB RAM 178 € (348.14 лв.), 256GB + 8GB RAM 209 € (408.77 лв.) -
Samsung Galaxy A26 от Plesio:
128GB + 6GB RAM 199 € (389.21 лв.), 256GB + 8GB RAM 245 € (479.18 лв.)
Втора употреба с гаранция
-
Apple iPhone 15 от Flip:
128GB 403.99 € (790.14 лв.), 256GB 553.99 € (1083.51 лв.) -
Apple iPhone 15 Pro Max от Flip:
256GB 717.99 € (1404.27 лв.)