Apple патентова телефон с извит дисплей

Apple патентова телефон с извит дисплей

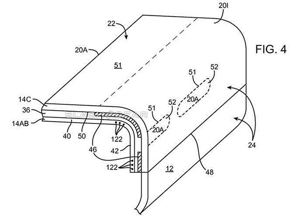
В седмицата, в която Samsung представиха ново устройство от серията еdge с извит дисплей, се появи и информация, че Apple са подали документи за патент за подобна разработка. Според описанието в документацията, става дума за устройство с дисплей, който се извива по страната на корпуса на телефона и показва информация върху страничния панел. Патентът подсказва и че Apple може да работи по iPhone без никакви хардуерни бутони, освен този за включване и изключване на телефона. Екипът на компанията например описва и възможност на страничния панел на дисплея да са разположени различни софтуерни бутони. Интересното е, че информацията за патента подсказва, че Apple по-скоро ще се опитат да използват плоската част на дисплея, вместо извитата му зона.

Източник: Slashgear


Втора употреба с гаранция

  • А ми, като започнеш от държавата им, тези, които се наричат американци такива ли са? Територията на, която са направли своите щатове тяхна ли е? Кои са истинските американци? Я ми кажи в компании, като Епъл американци ли са най-големите им умове? Я ми кажи един прост пример, стелт технологията и първия самолет F117 stealth от американци ли е измислена или е открадната, и от къде? Цялата им държава е една добре смазана престъпна машина, която дои и манипулира целия свят! И стига вече сте защитавали така сляпо тия ябълкови нещастници.(angry)(no)
    Ванката
  • [Quote]А щом Американското патентно ведомство признава определе патент, то той наистина явно е уникален и няма идентична разработка.[/Quote]Звучи много простичко, логично и наивно. Явно не си присъствал на дискусиите тук преди около година и нещо по темата за патентните тролове. Има хиляди абсурдни, застъпващи се или кухи патенти, които служат единствено за доене или спъване на конкуренцията. Моторола е компания, която се занимава с електроника и комуникация от сума десетилетия и сравнението за оправдание на Apple също не е много резонно.
    Sage
  • [Quote]Всъщност цялата им държава е изградена от чужди постижения! Държава изградена от престъпници.[/Quote] Дай примери, какви са тези чужди постижения, от които е изградена държавата им?
    strk
  • (yes)
    omax
  • [Quote]Всъщност, някой от нас знае ли какви и/или какво е внесено в патентното ведомство?[/Quote] Много уместно си задал въпроса и предполагам, сам знаеш отговора...;) Няма нужда от това да знаеш. Има ли намесен Apple, това действа първосигнално (като червено на бик) тук и резултатът е налице - пристрастни, крайни мнения, безкрайни и безплодни дискусии...
    afficionado
  • Всъщност, някой от нас знае ли какви и/или какво е внесено в патентното ведомство?
    omax
  • Компетентни,компетентни,колко да са компетентни!?Патентите има са предимно за геометрични фигури(квадрат с еди кви си ъгли на заобляне),жестове с пръсти и подобни \"високоинтелектуални научни открития\".Такива са им патентите на Апфел и не заслужават който и да е да ги защитава!
    propov
  • Прав си.Въобще не става дума за патент на гъвкав дисплей,а за патент на устройство,в което има вграден такъв.Самия телефон има много интересна концепция и гъвкавия дисплей не е най-интересното в него.Тукашната статия е написана леко провокативно,както си личи и от коментарите.
    ne4o
  • О, стига, моля ти се! Става въпрос за патентоване на вече съществуващи изобретения, идеи и т.н. Става въпрос за това, че всичко е вече изкривено - няма ясни критерии за иновация. Не може да влезеш в света на мултитаскинг операционните системи с 10 години закъснение и да искаш да се признае, че това е твое изобретение! Или пък за патентоване на глупости като иконата на музикалния плейър!!!!! За каква интелектуална собственост говориш?!?! Трябва да има някакъв категоричен критерий за същественост, значимост, иновативност. Патентните войни при мобилните устройства се разрастнаха в невиждани размери, което за съжаление се отразява в крайна сметка и на нашия джоб. http://online.wsj.com/article/SB10001424052702303624004577339931560320116.html QUOTE: \"When you have companies spending hundreds of millions in litigation, something is seriously wrong with our patent system,\" said Michael Carrier, a professor at Rutgers School of Law in Camden, N.J. \"You\'ve got to wonder whether it\'s doing more harm than good,\" he added.
    drkalo
  • Много си далеч от инфото какво и колко съм чел. Отдавна знам за корейската разработка.Мислиш ли, че те не са я патентовали? Ако не са, техен пропуск. Пак повтарям, явно има разлика в технологиите, щом този патент ще мине през ведомството. Дори не съм сигурен че става въпрос за дисплея като цяло защото ако не се лъжа Apple не са производители на дисплей:D
    omax
  • Епъл са едни долнопробни, скапани крадци на чуждия интелектуален труд! Всъщност цялата им държава е изградена от чужди постижения! Държава изградена от престъпници.;)
    Ванката
  • [Quote]А щом Американското патентно ведомство признава определе патент, то той наистина явно е уникален и няма идентична разработка. Не вярвам там да работят некомпетентни люде.[/Quote] Това, че не си чувал и чел за подобни дисплеи на Samsung, които тази година дори ги демонстрираха не значи, че не съществува такава разработка. http://nixanbal.com/samsung-%D0%B4%D0%B5%D0%BC%D0%BE%D0%BD%D1%81%D1%82%D1%80%D0%B8%D1%80%D0%B0-%D0%B8-%D1%81%D0%BC%D0%B0%D1%80%D1%82%D1%84%D0%BE%D0%BD-%D1%81-%D0%BE%D0%B3%D1%8A%D0%BD%D0%B0%D1%82-%D0%B4%D0%B8%D1%81%D0%BF%D0%BB%D0%B5%D0%B9-youm http://nixanbal.com/samsung-%D0%BF%D0%BE%D0%BA%D0%B0%D0%B7%D0%B0-%D0%BA%D0%BE%D0%BD%D1%86%D0%B5%D0%BF%D1%82%D1%83%D0%B0%D0%BB%D0%BD%D0%B8%D1%8F-curved-oled-tv-%D1%82%D0%B5%D0%BB%D0%B5%D0%B2%D0%B8%D0%B7%D0%BE%D1%80-%D1%81-%D0%BE%D0%B3%D1%8A%D0%BD%D0%B0%D1%82-%D0%B5%D0%BA%D1%80%D0%B0%D0%BD
    nmnikolov
  • Не, просто държавата защитава с цялата строгост всяка една разработка плод на интелектуалния труд. Зад всяка една такава разработка стоят стотици часове труд на цели екипи, в които са инвестирани хиляди долари. Просто нашето съзнание е коренно различно. Ние искаме всичко наготово и ако може безплатно, без да уважаваме труда на останалите.Камо ли да им го заплатим. П.С. Ако не се лъжа, Моторола е компанията с най-много лицензии в мобилната област.Така, че да не се сърдим на Apple, че искат да защитят собствеността си. А щом Американското патентно ведомство признава определе патент, то той наистина явно е уникален и няма идентична разработка. Не вярвам там да работят некомпетентни люде.
    omax
  • "Бог да пази корпорациите" е от доста време(no) Всъщност самите Щати са со на практика корпорация: http://www.abodia.com/2/United-States-is-a-corporation.htm
    mkpetrov
  • \"........и по този начин ще изобразява важната за него информация върху обърнатата към него страна\" Това патентоват, не самия процес за разпознаване.
    omax
  • [Quote]Нещо много криво има в американския модел - законите ли са, пазара ли е или целия им капиталистически модел - не знам.[/Quote] Не, те са си криви, като нация, световните проблеми ги създават те! Мисленето им е прецакано. \"Бог да пази Америка\", патриотични издуханяци.(angry)(no) Живеят на гърба на целия свят!
    Ванката
  • Няма ли край това патентно тролене? Нещо много криво има в американския модел - законите ли са, пазара ли е или целия им капиталистически модел - не знам.
    Sage
  • Браво, очаквам следващия им патент да е КОМПОЗИТОР НА МЕЛОДИИ.
    drimdiard
  • Това е стандартна функция за всички с андроид 4.0 и нагоре.
    AVKansazov
  • Разпознаване на лице -ами това го има и в Рейзъра ми - това е един от начините да се отключва смартфона - от ЛокСкрийна. Като ме види през предната камера че съм аз и се отключва сам. Дали обаче Моторола са се сетили да го патентоват това....
    Bullstar