Други
Microsoft в преговори да купи Osterhout Design Group
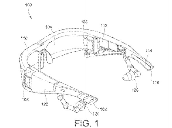
Google Glass все още не е масово устройство, макар с подобни концепции компаниите да експериментират отдавна, което означава, че рано или късно на пазара ще се появят повече подобни предложения, които ще бъдат и по-достъпни в ценово отношение. Междувременно на Microsoft явно не им липсват амбиции в тази посока, защото компанията се кани да купи компанията от Сан Франциско Osterhout Design Group.
Тя е дългогодишен партньор на американската армия и има множество патенти за редица технологии, които са подходящи за добавяне в умни очила или друга подобна потребителска електроника. Сред разработките е и такава, която позволява на носещия съответното устройство да види посоката на движение на бързо движещи се обекти и дори на такива, които не са видими.
Слуховете за момента са, че сделката възлиза на около 200 милиона долара, но двете компании все още водят преговори, така че нищо не е окончателно. Оказва се, че Google, Samsung и LG също са проявили интерес към Osterhout Design Group, но изглежда, само Microsoft са успели да напреднат с преговорите.
http://techcrunch.com/2013/09/20/microsoft-osterhout/
Тя е дългогодишен партньор на американската армия и има множество патенти за редица технологии, които са подходящи за добавяне в умни очила или друга подобна потребителска електроника. Сред разработките е и такава, която позволява на носещия съответното устройство да види посоката на движение на бързо движещи се обекти и дори на такива, които не са видими.
Слуховете за момента са, че сделката възлиза на около 200 милиона долара, но двете компании все още водят преговори, така че нищо не е окончателно. Оказва се, че Google, Samsung и LG също са проявили интерес към Osterhout Design Group, но изглежда, само Microsoft са успели да напреднат с преговорите.
http://techcrunch.com/2013/09/20/microsoft-osterhout/
Оферти на деня
-
Apple iPhone 14 от CityTel:
128GB 579 € (1132.43 лв.), 256GB 649 € (1269.33 лв.), 512GB 799 € (1562.71 лв.) -
Samsung Galaxy Z Flip7 от CityTel:
256GB + 12GB RAM 929 € (1816.97 лв.), 512GB+12GB RAM 999 € (1953.87 лв.) -
Apple iPhone 17 Pro Max от BROS:
256GB + 12GB RAM 1449 € (2834.00 лв.), 512GB+12GB RAM 1699 € (3322.96 лв.) -
Samsung Galaxy A57 от Ozone.bg:
128GB + 8GB RAM 469 € (917.28 лв.), 256GB + 8GB RAM 519 € (1015.08 лв.) -
Apple iPhone 13 от BROS:
512GB 740.86 € (1449.00 лв.), 128GB 740.86 € (1449.00 лв.), 256GB 740.86 € (1449.00 лв.)
Втора употреба с гаранция
-
Apple iPhone 15 от Flip:
128GB 429.99 € (840.99 лв.) -
Apple iPhone 15 Pro Max от Flip:
256GB 689.99 € (1349.50 лв.)