Мобилни телефони
Motorola с интересен патент за сгъваем телефон
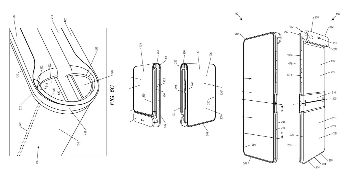
Motorola беше сред първите компании, които представиха смартфон със сгъваем екран. От появата на последния ѝ такъв модел обаче вече измина година и половина, като няма конкретна яснота кога ще се появи следващият. Все пак обаче има индикации за такъв.
Междувременно в WIPO се появи патент на компанията за нов вертикално сгъващ се смартфон, но с по-различен дизайн. В случая екранът е отвън, като в сгънато състояние на практика се получават два дисплея.

Оставена е и секция за камерата, а пантата е изцяло ново решение, което би трябвало да ограничи значително гънката. Макар тази концепция да е интересна, реализирането ѝ във финален продукт изглежда малко вероятно.
Източници: MySmartPrice, WIPO
Оферти на деня
-
Samsung Galaxy A56 от TImobile:
128GB + 8GB RAM 309 € (604.35 лв.), 256GB + 8GB RAM 355 € (694.32 лв.) -
Apple iPhone 16 от Ozone.bg:
128GB 769 € (1504.03 лв.) -
Samsung Galaxy S25 Ultra от BROS:
256GB + 12GB RAM 1029 € (2012.55 лв.), 512GB+12GB RAM 1129 € (2208.13 лв.) -
Samsung Galaxy A17 5G от CityTel:
128GB + 4GB RAM 179 € (350.09 лв.), 256GB + 8GB RAM 209 € (408.77 лв.) -
Samsung Galaxy A26 от CityTel:
128GB + 6GB RAM 195 € (381.39 лв.), 256GB + 8GB RAM 245 € (479.18 лв.)
Втора употреба с гаранция
-
Apple iPhone 15 от Flip:
128GB 403.99 € (790.14 лв.), 256GB 553.99 € (1083.51 лв.) -
Apple iPhone 15 Pro Max от Flip:
256GB 717.99 € (1404.27 лв.)