Мобилни телефони
Oppo патентова смартфон с откачаща се камера
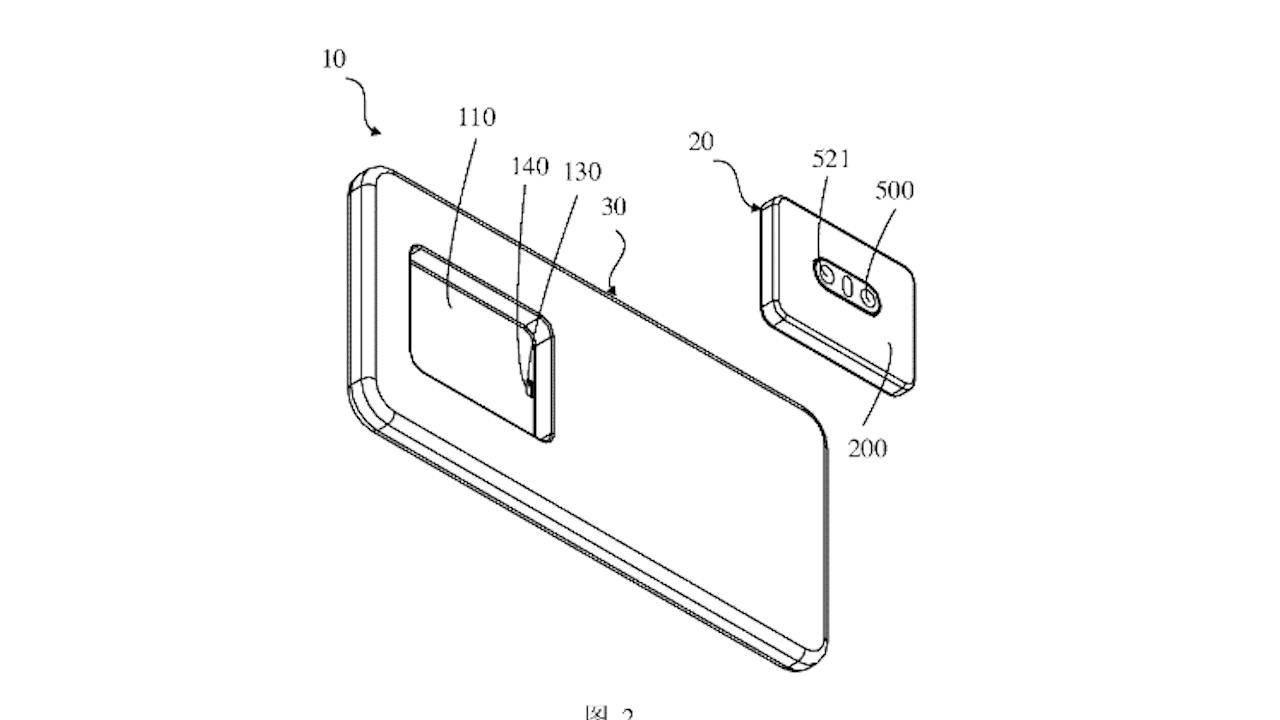
От време на време сме свидетели на някои доста интересни патенти от производителите на смартфони. Поредният такъв е открит от 91mobiles и е подаден към WIPO от Oppo.
В него виждаме смартфон, чиято секция с основна камера се откача от корпуса. Тя включва подвижен USB Type-C конектор за връзка с конструкцията, а и най-вероятно и за зареждане, ако е налична вградена батерия.

Освен добавката на този модул самият смартфон е със стандартен дизайн. Иновативното решение обаче е доста интересно, тъй като може да позволи голяма гъвкавост при заснемане и дори отдалечено заснемане на снимки и видео.
Подобно обаче на други патенти и тук може да не се достигне до реализирането на идеята в завършен продукт.
Източник: 91mobiles
Оферти на деня
-
Apple iPhone 14 от BROS:
128GB 589 € (1151.98 лв.) -
Apple iPhone 17 Pro Max от CityTel:
256GB 1449 € (2834.00 лв.), 512GB 1699 € (3322.96 лв.), купи за 1999 € (3909.70 лв.) -
Apple iPhone 13 от BROS:
512GB 740.86 € (1449.00 лв.), 128GB 740.86 € (1449.00 лв.), 256GB 740.86 € (1449.00 лв.) -
Samsung Galaxy A57 от SLOT MOBILE:
128GB + 8GB RAM 370 € (723.66 лв.), 256GB + 8GB RAM 425 € (831.23 лв.), 512GB+12GB RAM 569 € (1112.87 лв.) -
Samsung Galaxy Z Flip7 от TImobile:
256GB + 12GB RAM 899 € (1758.29 лв.), 512GB+12GB RAM 989 € (1934.32 лв.)
Втора употреба с гаранция
-
Apple iPhone 15 от Flip:
128GB 429.99 € (840.99 лв.) -
Apple iPhone 15 Pro Max от Flip:
256GB 689.99 € (1349.50 лв.)