Джаджи
Патенти на Microsoft подсказват, че компанията работи по умен часовник
Не сме очаквали Microsoft да изостанат много от тенденцията за умни часовници, въпреки че преди години компанията предложи подобни устройства, които бяха изпреварили времето си и не успяха да се наложат. Обстановката вече е благосклонна за нов опит за стъпване в тази продуктова категория и компанията вероятно ще се възползва от това. Още през март 2013 г. Microsoft са подали документи за патент за "електронна гривна" и "персонална информационна система за носене".
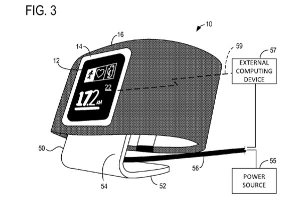
Патентът за електронна гривна съдържа в описанието си и външно изчислително устройство с квадратен дисплей. Нищо в патента не подсказва, че става дума за смарт часовник, но в него има няколко референции към информация за такива устройства. Патентът за персонална информационна система всъщност използва разработката от патента за електронна гривна, въпреки че документите за него са подадени по-рано - в края на 2012 г. Според описанието това е устройство, което може да се използва подобно на фитнес тракер и да се поставя в различни аксесоари за носене според случая.
http://www.wpcentral.com/microsoft-teases-smartwatch-latest-patent
http://www.wpcentral.com/microsoft-smartwatch-teased-recent-patent-filing
Патентът за електронна гривна съдържа в описанието си и външно изчислително устройство с квадратен дисплей. Нищо в патента не подсказва, че става дума за смарт часовник, но в него има няколко референции към информация за такива устройства. Патентът за персонална информационна система всъщност използва разработката от патента за електронна гривна, въпреки че документите за него са подадени по-рано - в края на 2012 г. Според описанието това е устройство, което може да се използва подобно на фитнес тракер и да се поставя в различни аксесоари за носене според случая.
http://www.wpcentral.com/microsoft-teases-smartwatch-latest-patent
http://www.wpcentral.com/microsoft-smartwatch-teased-recent-patent-filing
Оферти на деня
-
Samsung Galaxy A56 от SLOT MOBILE:
128GB + 8GB RAM 290 € (567.19 лв.), 256GB + 8GB RAM 374 € (731.48 лв.) -
Apple iPhone 16 от ОфисиТЕ:
128GB 791.99 € (1549.00 лв.), 256GB 965.83 € (1889.00 лв.) -
Samsung Galaxy S25 Ultra от Ozone.bg:
256GB + 12GB RAM 1039 € (2032.11 лв.), 512GB+12GB RAM 1149 € (2247.25 лв.) -
Samsung Galaxy A17 5G от AMCO:
128GB + 4GB RAM 178 € (348.14 лв.), 256GB + 8GB RAM 209 € (408.77 лв.) -
Samsung Galaxy A26 от SLOT MOBILE:
128GB + 6GB RAM 190 € (371.61 лв.), 256GB + 8GB RAM 245 € (479.18 лв.)
Втора употреба с гаранция
-
Apple iPhone 15 от Flip:
128GB 403.99 € (790.14 лв.), 256GB 553.99 € (1083.51 лв.) -
Apple iPhone 15 Pro Max от Flip:
256GB 717.99 € (1404.27 лв.)