Samsung подготвя кръгъл умен часовник за мобилния конгрес
От сайта SamMobile идва нова информация за продуктовите планове на Samsung и в тях влиза и представянето на умен кръгъл часовник, какъвто вече имат Motorola, LG и дори Alcatel OneTouch. Устройството е с кодово име Orbis и ще бъде представено официално по време на мобилния конгрес в Барселона в началото на март. Според новите детайли от източник на сайта, устройството ще има бутон за включване, оформен като класическа часовникарска коронка. В това отношение Samsung ще последва примера на Apple Watch, но за разлика от часовника на американската компания, коронката на Orbis няма да изпълнява други функции.
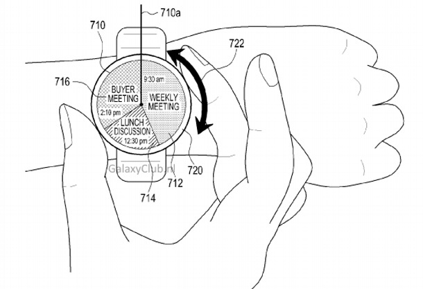
Все пак джаджата на Samsung ще предложи друга класическа часовникова функция – въртящ се пръстен около екрана. Той ще се използва за управление на различни функции и дори вече беше патентован от корейската компания. Засега не е ясно как точно ще функционира този пръстен, но може да се окаже подобен на дигиталната коронка на Apple и да послужи за мащабиране или за прелистване на списъци и др. Samsung ще осигури SDK, така че авторите на софтуер ще могат да интегрират функцията на пръстена в приложенията си.
Оферти на деня
-
Apple iPhone 14 от BROS:
128GB 589 € (1151.98 лв.) -
Samsung Galaxy Z Flip7 от TImobile:
256GB + 12GB RAM 899 € (1758.29 лв.), 512GB+12GB RAM 989 € (1934.32 лв.) -
Apple iPhone 17 Pro Max от BUYBEST:
256GB 1449 € (2834.00 лв.), 512GB 1689 € (3303.40 лв.), купи за 2309 € (4516.01 лв.) -
Samsung Galaxy A57 от CityTel:
128GB + 8GB RAM 389 € (760.82 лв.), 256GB + 8GB RAM 429 € (839.05 лв.), 512GB+12GB RAM 579 € (1132.43 лв.) -
Apple iPhone 13 от BROS:
512GB 740.86 € (1449.00 лв.), 128GB 740.86 € (1449.00 лв.), 256GB 740.86 € (1449.00 лв.)
Втора употреба с гаранция
-
Apple iPhone 14 от Flip:
128GB 299.99 € (586.73 лв.), 256GB 379.99 € (743.20 лв.), 512GB 479.99 € (938.78 лв.) -
Apple iPhone 13 от Flip:
128GB 249.99 € (488.94 лв.), 256GB 293.99 € (574.99 лв.) -
Apple iPhone 14 Pro Max от Flip:
128GB 463.99 € (907.49 лв.), 256GB 507.99 € (993.54 лв.), 512GB 643.99 € (1259.53 лв.), 1TB 719.99 € (1408.18 лв.) -
Apple iPhone 12 mini от Flip:
64GB 179.99 € (352.03 лв.), 128GB 193.99 € (379.41 лв.), 256GB 269.99 € (528.05 лв.) -
Apple iPhone 11 Pro от Flip:
64GB 181.99 € (355.94 лв.), 256GB 209.99 € (410.70 лв.), 512GB 233.99 € (457.64 лв.)