Новини за iphone fold

iPhone 17 Pro Max може да е последният „Max” с най-голям екран

iPhone 17 Pro Max може да е последният „Max” с най-голям екран

Когато потребителите на Apple избират iPhone Pro Max, често го правят преди всичко поради една причина - размера на екрана. Но тазгодишният iPhone 17 Pro Max може да е последният &

Павлин Луканов
iPhone Fold и iPhone 18 Pro ще са по-добри в това отношение

iPhone Fold и iPhone 18 Pro ще са по-добри в това отношение

Традиционно преди големите премиери на Apple има много слухове свързани с устройствата, които предстои да бъдат представени. Често слуховете започват много преди самите анонси. Се

Павлин Луканов
iPhone Fold идва догодина с много висока цена

iPhone Fold идва догодина с много висока цена

По данни на JPMorgan, Apple може да пусне на пазара изцяло нов дизайн на iPhone като част от своята продуктова гама през втората половина на следващата година. Става дума разбира

Павлин Луканов
iPhone Fold може да е по-евтин от Galaxy Z Fold7 и Fold8

iPhone Fold може да е по-евтин от Galaxy Z Fold7 и Fold8

Високата цена на Samsung Galaxy Z Fold7 го прави недостъпен за повечето потребители. Споменаваме това, тъй като догодина и Apple може да навлезе в този сегмент, като е възможно дор

Павлин Луканов
iPhone Fold е все по-близо – вече във фаза прототип

iPhone Fold е все по-близо – вече във фаза прототип

Дългоочакваният iPhone със сгъваем екран би трябвало да стане реалност догодина, ако досегашните слухове се оправдаят. Междувременно нова информация сочи, че миналия месец устройст

Павлин Луканов
Сгъваемият iPhone на Apple ще засенчи линията Galaxy Z на Samsung

Сгъваемият iPhone на Apple ще засенчи линията Galaxy Z на Samsung

Вече има много индикации за това, че Apple подготвя iPhone със сгъваем екран. Очакванията са, че моделът ще бъде оборудван с нов тип дисплей, разработен от Samsung, който никога не

Павлин Луканов
iPhone Fold ще замени Face ID с Touch ID

iPhone Fold ще замени Face ID с Touch ID

Вече има редица слухове и данни за предстоящ дебют на първия смартфон/таблет със сгъваем екран от Apple. Доста вероятно е устройството да се появи още догодина, но предстои да види

Павлин Луканов
Липсва ви iPhone mini? Догодина Apple може да има изненадващо предложение

Липсва ви iPhone mini? Догодина Apple може да има изненадващо предложение

Много хора харесаха iPhone mini, но, за съжаление, не достатъчно, за да накара Apple да продължи да предлага такъв модел. В крайна сметка той беше заменен от Plus версия. Въпреки

Павлин Луканов
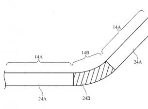
iPhone Fold ще използва сгъваем механизъм от специален материал

iPhone Fold ще използва сгъваем механизъм от специален материал

Наскоро се появиха данни за това, че предстоящият iPhone със сгъваем екран от тип Fold ще използва сгъваем механизъм от течен метал. Това ще подобри издръжливостта и ще ограничи до

Павлин Луканов
Първият сгъваем iPhone може да е с изненадващо неприятна цена

Първият сгъваем iPhone може да е с изненадващо неприятна цена

Анализаторът Минг-Чи Куо сподели очакванията си за предстоящия iPhone със сгъваем екран, който би трябвало да видим догодина. Според него моделът е позициониран в най-висок клас с

Павлин Луканов
1
2
3