Други
Въздушни възглавници за телефон
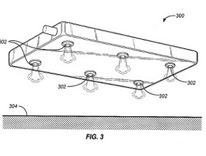
Смартфоните, както знаем, са все по-ценни с нарастването на количеството информация, която потребителите съхраняват в тях. Шефът на Amazon Джеф Безос явно е решил да изпревари тенденциите и патентова въздушни възглавници за телефон. Технологията използва акселерометъра на телефона, за да задейства въздушните възглавници, докато телефонът пада - по този начин ударът ще бъде омекотен и може би ще намали щетите по корпуса на устройството. В документацията на патента се споменава, че скоростта на падане на телефона може да бъде изчислявана и с лазер, като в същото време може да бъде установено и дали телефонът пада самостоятелно или се намира в препълнена дамска чанта например. Споменава се също и възможността за проверка на повърхността, на която ще падне телефона - дали тя е мека или твърда.
http://www.geekwire.com/2011/jeff-bezos-put-airbag-smartphone
http://www.geekwire.com/2011/jeff-bezos-put-airbag-smartphone
Оферти на деня
-
Samsung Galaxy A56 от Ozone.bg:
128GB + 8GB RAM 308 € (602.40 лв.), 256GB + 8GB RAM 339 € (663.03 лв.) -
Apple iPhone 16 от CityTel:
128GB 779 € (1523.59 лв.), 256GB 869 € (1699.62 лв.), 512GB 999 € (1953.87 лв.) -
Samsung Galaxy S25 Ultra от SLOT MOBILE:
256GB 980 € (1916.71 лв.), 512GB 1090 € (2131.85 лв.), купи за 1280 € (2503.46 лв.) -
Samsung Galaxy A17 5G от Ozone.bg:
128GB + 4GB RAM 184 € (359.87 лв.), 256GB + 8GB RAM 229 € (447.89 лв.) -
Samsung Galaxy A26 от BROS:
128GB + 6GB RAM 195 € (381.39 лв.), 256GB + 8GB RAM 245 € (479.18 лв.)
Втора употреба с гаранция
-
Apple iPhone 15 от Flip:
128GB 403.99 € (790.14 лв.) -
Apple iPhone 15 Pro Max от Flip:
256GB 717.99 € (1404.27 лв.)