Apple
Apple може да вгради камера в коронката на умния си часовник
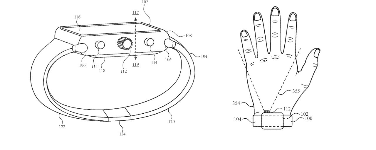
Apple изпробва вграждането на камера в Apple Watch, като едно от предложенията е тя да бъде в дигиталната коронка. За това подсказва и нов патент на компанията, като се предвижда и адекватна защита на личните данни.
Чисто от практична гледна точка това приложение не изглежда особено практично. Предходен патент на компанията визираше вграждането на камера под дисплея, което е по-логично.

От компанията могат да използват екрана на часовника като визьор за заснемане. Освен това би било очаквано да е възможно и снимането през свързания смартфон. Засега няма индикации как компанията би успяла да вгради камера в и без това сложния елемент с коронката.
Източник: AppleInsider
Оферти на деня
-
Samsung Galaxy A56 от ОфисиТЕ:
128GB + 8GB RAM 319 € (623.91 лв.), 256GB + 8GB RAM 367 € (717.79 лв.), 256GB + 12GB RAM 423.86 € (829.00 лв.) -
Apple iPhone 16 от ОфисиТЕ:
128GB 791.99 € (1549.00 лв.), 256GB 965.83 € (1889.00 лв.) -
Samsung Galaxy S25 Ultra от AMCO:
256GB + 12GB RAM 1039 € (2032.11 лв.), 512GB+12GB RAM 1119 € (2188.57 лв.), 1TB + 12GB RAM 1329 € (2599.30 лв.) -
Samsung Galaxy A17 5G от TImobile:
128GB + 4GB RAM 165 € (322.71 лв.) -
Samsung Galaxy A26 от ОфисиТЕ:
128GB + 6GB RAM 199 € (389.21 лв.), 256GB + 8GB RAM 235 € (459.62 лв.)
Втора употреба с гаранция
-
Apple iPhone 15 от Flip:
128GB 403.99 € (790.14 лв.) -
Apple iPhone 15 Pro Max от Flip:
256GB 717.99 € (1404.27 лв.)