Apple патентова отключването на телефон с плъзване на пръст

Apple патентова отключването на телефон с плъзване на пръст
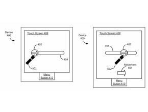
Apple получиха от американския патентен офис (USPTO) патент за познатия жест, който компанията използва за отключване на iPhone. Документите за патента са били подадени година преди да бъде представен първият iPhone. Лошата новина е, че всъщност жестът не е дефиниран точно, а става дума за "предварително дефиниран жест за отключване на дисплея". Интересно е да разберем дали този патент също ще бъде включен в поредицата от безкрайни съдебни дела между производителите на смартфони.

Интересно е, че още през 2004 г. шведската компания Neonode използва подобен жест в свой телефон. И точно той е посочен от холандския съд като причина за обявяване на патента за невалиден.

http://9to5mac.com/2011/10/25/slide-to-unlock-patented/


Втора употреба с гаранция

  • Аууу, недей казва че да вземат наистина да им направят патент :D.
    behroozwolf
  • Все пак става въпрос за отключване с плъзгане;) не за капацитивни дисплеи.Ако се съсредоточим върху това май издишат [Youtube]http://www.youtube.com/watch?v=Tj-KS2kfIr0[/Youtube] Neonode N1m-2005г. и мисля,че айфона излиза 2007,но тогава е и Neonode N2 един симпатичен мъник;) Така,че който е...л е....л буля Самсуня си вдигна гащите:D:D:D
    rado243
  • Първият прототип на iPhone е създаден 2001 година, не е имало достъпни и развити технологии за масовото му пройзводство, така че епъл изчакват подходящия момент. Тази моторола не знам защо я показваш, тя не е на епъл, просто ползва алгоритъм на iPod навигация и синхронизация с iTunes (имал съм такъв телефон, ако те интересува питай). Колко време отне на другите производители на телефони, след като се появи iPhone да изкарат на пазара нормално работещ капацитивен мултитъч дисплей, когато си отговориш на този въпрос, ще разбереш и технологичното изоставане на останалите марки в тогавашния момент. "iфенобойчетата плюят Moto" е изключително некоректно, виж всички теми свързани с Apple и всички останали и кажи кой къде плюе и сере
    mr_j
  • По-скоро не знае за какво си мечтаят комерсиалните тикви, а как да ги накара да си мечтаят за точно определено нещо.;) Предлагането определя търсенето, поне когато е подплатено с толкова агресивна мозъкопромивка. А иначе който твърди, че за да се "изобрети" подобен механизъм за отключване, са необходими изключителни усилия и гениалност, е жестоко скаран с реалността (Да не отваряме дума и колко безсмислени и незначителни са подобни "иновации"). То и разни цапаници се продават за милиони долари, ама това не означава, че аз за 2 минути не мога да "нарисувам" нещо подобно, което ще е по-лошо само защото: 1. Не съм известен 2. Не съм добър в промивката на мозъци, така че да убедя зомбираните консуматори какво точно трябва да видят в цапаницата.;)
    mkpetrov
  • Добре чиче,кажи аджеба какво са измислили "Apple" което да е променило света и траекторията на планетите в слънчевата ни система. Преди да започнеш с тяхния тъч скриин: http://prikachi.com/images/451/3975451H.jpg Прототип на Samsung 2006 за телефон с тъчскриин технология,година преди това Apple са мислели да влязат в телефонния бизнес като модела им тогава е бил направен от Motorola(хах и ми е смешно когато iфенобойчетата плюят Moto).Година по късно Apple показват iPhone-а си което като за първи модел е iPod с GSM модем и погват мало и старо от бранша за да си спечелят монопол. Мойте уважения към Стиив Джобс,той не е изобретател,а умел търговец и бизнесмен който знае за какво си мечтаят комерсилните главички.Нали съзнаваш,че всички тук в момента саркастично се присмиваме на страха който Apple изпитва и по типичен Apple маниер,щом те го правят-никой друг не може. Хах умрял съм им за отключващия се екран,като че ли други алтернативи. Затова си направи услуга и престани да защитаваш лакома корпорация която не е показала нищо революционно през последните години. PS:Не знам защо мислиш,че всички са дечурлига.Това някаква тежест на коментара ти ли цели?
    agroman12
  • Големи патентни специалисти станахте всички. Измислете нещо полезно за човечетвото и го дарете на света и ще ви аплодирам и ще ви се кланям дъги години, ама май нещата няма да се случат точно така. Лесно е да се плюе, но доста по-трудно да се измисли нещо иновативно! Невръстни тинейджъри, ходете гонете мацките, сега ви е времето, не си играйте с телефоните... :)
    mr_j
  • Много си прав Анонимчо. Точно така е както си казал. Аз знам за няколко действителни случая и за няколко разкрити. Въпроса тук е друг. За глупостта да се патентова такова нещо. Представи си света ако всичко почне да се патентова - ножицата, колелото, акумулаторът и т.н. Навремето Хенри Форд е искал да патентова автомобила - представи си какво би станало сега ако го бяха позволили. Разбирам да се патентова нещо реално да го приемем - Блутут, Wifi, 3G и т.н. Аз предлагам на Епъл да патентоват картинката със капките вода която е основен wallpaper от години на техните телефони :)
    Scorpinox10
  • смешна работа... Да патентоват тоалетната хартия iPaper и да си серат на воля...
    KOBRETI
  • Патетни тролове. Лика-прилика с m$.
    vladovn
  • Ъм, не само процесор, ами и GPU. Какво повече искаш? По-голям екран? Бих жертвал големия екран за хубава ОС и страхотни приложения. А ти?
    keyone
  • ако се занимаваха повече с телефоните си,вместо да съдят другите ,че им дишат въздуха,може би новият айфоун щеше да е по як,а не просто по голяма камера,и по бърз процесор... (no)
    pitlordDesireHD
  • А ти явно не схващаш сарказма на колегите :D Честно,iфенбойчетата са най големите мрънкачи... Колкото до патента,не се изненадвам iКомплексарите от отдавна се опитват да присвоят всичко което правят и "измислят" та да духат другите супата. С това ми стават смешни,какво следва?Патент за думата "телефон" или когато тръгна да си купувам ябълки да плащам патент за интелектуална собственост? Честно,Apple са бахти клоуните :D:D Като гледам USA са им най лоялния пазар :D Да се надяваме,че iфеновете няма да ме погнат с факлите заради тези слова...
    agroman12
  • Леле колко са жалки тея ейпъл :D а колкото до патентите откривателя на нещо ако не го патентова а по късно някой друг подаде патент за това това с какво променя факта кой е измислил въпросното нещо?(whistle)(whistle)
    fox_vt
  • А могат ли от Нокиа със задна дата да патентоват заключването Меню+* :D Или пък от Сони страничния клавиш заклч.отклч (woo) Или пък от Самсунг клавиша заключване при задържане на диез 8)
    Scorpinox10
  • Аз пък искам да патентовам плъзването с *** :D :D :D Май скоро ще сменят името от iPhone на iPatent.
    centur
  • Именно. Повечето фанбойс не разбират, че това води до забавяне на развитието. Все едно Гугъл да бяха патентовали нотификейшъна и никой друг да няма право да плъзва лентичка надолу.
    E34v8
  • Патентни лихвари. (no) Интересно, ако всички техно-производители действаха като Apple, колко ли щеше да струва сега един телевизор, в който можеше да са използвани 100-на патента за сервизно меню - настройка на канали, картина, начин на обработка на картината, типове и подредба на бутоните на дистаннционното, геометрия на пикселовата матрица (триадите), тип на дисплея (LCD, TFT, плазма, LED) и т.н. ...
    Sage
  • Точно това ти обяснявам няма значение дали става дума за Епъл или който и да е друг - според патентното право който първи патентова нещо другите му плащат за да го ползват и всички фирми се възползват от това много преди да се създаде Епъл, Самсунг или който и да е прозводител на телефони. Затова от много години е развит промишления шпионаж. Да можеш да видиш технологията на конкурента и да я патентоваш преди него или поне внедриш преди него. Това че не е морално е друг въпрос но закона рядко се интересува от морала... Всички фирми са наясно с това и всички го прилагат няма какво да ги мислим
    anonim4o
  • Не рзасъждавам странно, просто това не е технология измислена от Apple, че да претендират за нея. Да претендират за собствените си технологии (ако имат такива изобщо) - дисплеите и процесорите им се произвеждат от други компании, и да патентоват тях, не да реват че всички им крадат умрелия дизайн и патенти на технологии които може и да не са техни дори. Ако са патентовали технология създадена от друг, който не се е сетил да я патентова и е духнал супата, то да не претендират за тези патенти и да се засрамят малко, че са откраднали! Ако не са Samsung и Toshiba щяха да видят ЛайФон на кукув ден!
    Nikolay Ivanov
  • Странно разсъждаваш... Всеки който измисли нещо или направи откритие има право да го патентова та въпроса е защо след като е измислено преди това не са подали документи за патент??? Ако човек измисли или внедри нещо то той има право да го патентова но ако някой друг го патентова преди него откривателя духа супата - гадно но факт. Затова всеки си пазри нововъвведенията и съществува промишления шпионаж и т.нат.
    anonim4o