Apple
Apple патентова технология за камера, подобна на Lytro
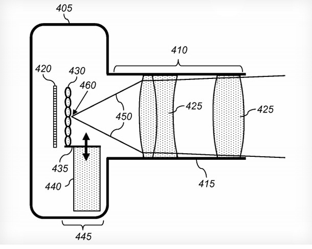
През 2011 г. Apple са подали документи за патент за камера, с подобен на Lytro принцип на работа, която позволява заснемането на два вида изображения - с ниска резолюция, чийто фокус може да бъде променен на по-късен етап, и стандартни с висока резолюция. За да бъде възможно това, камерата ще използва набор от лещи, които ще се местят на различно разстояние между сензора и обектива, за да рефокусират изображението.
От Apple не крият, че идеята за патента идва от Lytro, като дори споменават патента на Рен Нг, но отбелязват, че това не е най-доброто решение. В документите към патента се споменава, че подобна камера може да бъде добавена и в мобилни устройства, но не става ясно дали компанията наистина планира да я използва в таблетите и телефоните си.
http://appleinsider.com/articles/13/11/26/apple-patents-lytro-like-refocusable-camera-for-iphone
От Apple не крият, че идеята за патента идва от Lytro, като дори споменават патента на Рен Нг, но отбелязват, че това не е най-доброто решение. В документите към патента се споменава, че подобна камера може да бъде добавена и в мобилни устройства, но не става ясно дали компанията наистина планира да я използва в таблетите и телефоните си.
http://appleinsider.com/articles/13/11/26/apple-patents-lytro-like-refocusable-camera-for-iphone
Оферти на деня
-
Samsung Galaxy A56 от AMCO:
128GB + 8GB RAM 296 € (578.93 лв.), 256GB + 8GB RAM 345 € (674.76 лв.) -
Apple iPhone 16 от AMCO:
128GB + 8GB RAM 769 € (1504.03 лв.) -
Samsung Galaxy S25 Ultra от TImobile:
256GB + 12GB RAM 989 € (1934.32 лв.), 512GB+12GB RAM 1089 € (2129.90 лв.), 1TB + 12GB RAM 1297 € (2536.71 лв.) -
Samsung Galaxy A17 5G от Plesio:
128GB + 4GB RAM 179 € (350.09 лв.), 256GB + 8GB RAM 225 € (440.06 лв.) -
Samsung Galaxy A26 от BUYBEST:
128GB + 6GB RAM 199 € (389.21 лв.), 256GB + 8GB RAM 249 € (487.00 лв.)
Втора употреба с гаранция
-
Apple iPhone 15 от Flip:
128GB 403.99 € (790.14 лв.), 256GB 553.99 € (1083.51 лв.) -
Apple iPhone 15 Pro Max от Flip:
256GB 717.99 € (1404.27 лв.)