Essential са патентовали дисплей с изскачаща камера преди близо две години

Essential са патентовали дисплей с изскачаща камера преди близо две години

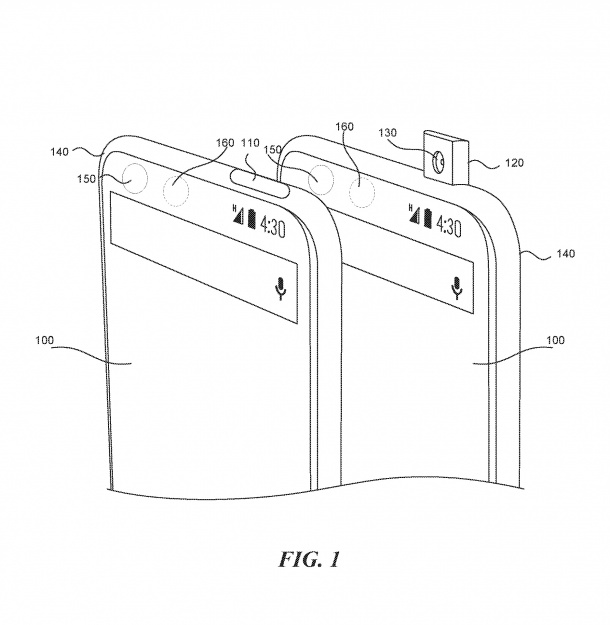
Както е известно, китайската компания vivo показа по време на мобилния конгрес в Барселона концептуален модел, който предлагаше изскачаща предна камера, която трябва да елиминира добиващия популярност изрязан дисплей. Оказа се, че тази идея е била патентована от Essential още през миналата година. Новината разкри лично Анди Рубин в своя профил в Twitter. Самият патент пък е бил заявен още през пролетта на 2016 година и е озаглавен "Апарат и метод за увеличаване площта на дисплея на мобилно устройство". На практика в този патент е описано именно това, което vivo показа в Барселона. От Essential са заявили и друг патент, който доразвива копцепцията и който в момента се разглежда от американското патентно ведомство.


Втора употреба с гаранция

  • Ами имаше навремето такава тема, но там спама вече беше на друго ниво! :D
    Ванката
  • ОК, и колкото и да го овъртате китайците пак ще си останат жалки копирачи и плагиати. Колкото и да не ти харесва това е реалността. :D Целия свят напълниха с боклуците си.
    Ванката
  • [Quote]Аз спирам да пиша в темата, защото и без това се отклонихме много от нейната същност. По-късно ще я заключа, защото се изчерпи![/Quote] Няма ли вариант да се създаде една СПАМ тема и там да се пишат всичките глупости? Който пише глупости/спам в темите и не ползва СПАМ темата - почивка за един ден. Давам го само като идея, предполагам ще има ефект и повечето теми ще се очистят от талаша... :D
    PoceH_BS
  • Това за аутистите и гениите е спорно. Според най-новите теории, подкрепени от функционален магнитен резонанс, там има промяна в допаминовата система в мозъка- не получават такова удоволствие от социалните взаимоотношения като другите, а повече от взаимодействието с предмет, детайли, четене и т.н - съответно не се научават или по-късно като възрастни се научават на социалните нюанси на общуването трудно все едно им е чужд език, а научават (тези, от тях които имат запазен капацитет) много теория, факти, компютърни езици, инженерство и т.н. Т.е. Говорим НЕ ЗА ПО-ГОЛЯМ МОЗЪЧЕН КАПАЦИТЕТ, А ЗА РАЗЛИЧНО "ОКАБЕЛЯВАНЕ" НА МОЗЪКА, ЕДНИ ПЪТИЩА СЕ РАЗВИВАТ ПОВЕЧЕ ЗА СМЕТКА НА ДРУГИ. Често това е проклятие, но всъщност и благословия за всички нас, че има такива хора - така имаме компютри, мигновена връзка, космически, медицински постижения, здрави мостове и много други. Това аутистично интензивно вманиачено фокусиране върху детайлите открива нови решения и движи света напред. Но разбира се - без да можем да общуваме пълноценно, не можем да свършим много сами...
    tzincbg
  • Как няма да се изчерпи... Самият ти я доведе до тук още с първото си мнение. Не съм съгласен с нито едно твое мнение - за китайците, за труда, още повече пък за тъпите американци. Представите ти за бъдещето пък са абсолютно детински и наивни.
    Wallker
  • [Quote]Ванка, това, че не си ползваме мозъка на 100% е отдавна разбит от науката мит.[/Quote] Човек има 100% мозъчна активност, но потенциала му е достигнат някъде на до 20% на този етап от еволюцията, при това най-високите показатели са при гениите и аутистите, (които също влизат в графа гении). В бъдеще, ще се премахнат прпфесиите, ако могат да се нарекат така на обикновенни черноработници с тежки и опасни за живота условия на труд, а се насочат усилията към духовно освен технологично развитие и потенциала на всеки един човек, защото според мен всяко човешко същество е уникално само по себе си. Просто обстоятелствата в момента, нивото на развитие на човешката раса не предоставя равен шанс и причина на всеки да развива потенциала си. Каквото и да си пишете си личи, че не виждате по-далече от носовете си. Всъщност отрицанието се наблюдава във всеки етап на човешката история! (yes) ПС. Аз спирам да пиша в темата, защото и без това се отклонихме много от нейната същност. По-късно ще я заключа, защото се изчерпи!
    Ванката
  • [Quote]Екзосферата е до 20 000 км[/Quote] [Quote]стратосферата е на повече от написаните от теб 24 км [/Quote] [Quote]МКС е на височина средно от около 320 км[/Quote] Да не искаш да кажеш, че МКС е в екзосферата? А пък аз тъпака да си мисля, че е в космоса!!! [Quote]Сравняваш огромни планински вериги с широчина от десетки километри и Китайската стена, която е около 10 м широка ?[/Quote] А колко са дълги тези вериги и колко Великата китайска стена?
    velnsl
  • Нещо си се объркал ;) Не съм ябълковиден ;)
    Боби13
  • Я кажи кога в наЙфона ще се появи изскачаща камера? :D:D:D
    PoceH_BS
  • Направо изби рибата :D Явно не си в час. Атмосферата и по-специално нейният най-външен слой, а именно Екзосферата е до 20 000 км. Дори стратосферата е на повече от написаните от теб 24 км ;) Просто до 20 км е около 99% от нейната маса ;) Сравняваш огромни планински вериги с широчина от десетки километри и Китайската стена, която е около 10 м широка ? МКС е на височина средно от около 320 км ;)
    Боби13
  • Използват бившите си колонии. Ако разчитат на настоящите джуджета колонии ще загинат.
    Боби13
  • [Quote] За мен те са едни плагиати и паразити и нищо повече[/Quote] Същото ми е мнението за американците. Паразити, които живеят на гърба на партньорите си - от едните злато, от другите петрол, на третите диамантите. Само крадът, грабят и унищожават държави. То не беше Виетнам, Либия, Сирия, Ирак, Украйна. [Quote]Не, те са евтина работна ръка, използвана от развитите страни[/Quote] Докато я има алчността на бизнеса в развитите(белите) страни, ще има и китайското производство. Отделен е въпроса защо нашите "приятели" от САЩ (с айфоните си), Германия (с доста от компонентите си за автомобилостроенете) не са си изнесли производството в приятелска държава като България, ами при крадливите китайци. Добре де корейците окрадоха емотиконите, другите лицево разпознаване и т.н. Това явно е не само китайска политика. Ако погледнем реално цивилизованите страни не са толкова цивилизовани. Докато имат колонии и смучат от тях(Франция, Великобритания) ресурси това не са цивилизовани страни. Те са същите крадливи плъхове като китайците. Китайците крадът интелектуален труд, европейци, американци ресурси(злато, петрол, диаманти, "мозъци", способна работан ръка).
    velnsl
  • Китайската стена въобще не се вижда от космоса. https://www.nasa.gov/vision/space/workinginspace/great_wall.html
    tzincbg
  • Въобще няма да е както си го мислим. Четете стари прогнози от 20ти век. Ето един пример - очилата за виртуална реалност предизвикват гадене, замаяност при дълга употреба, особено ако е свързано с придвижване. Не е случайно, че почти всички игри са ти си в центъра и само се въртиш.
    tzincbg
  • >> Предполагам обаче няма да доживея това фантастично (сега) и вълнуващо бъдеще, което неминуемо ще промени цялата ни планета. Дали ще е вълнуващо и как? Голямо значение има каква фантастика човек чете/гледа/пуши. Може и да е това за което си мечтаеш https://ancient-code.com/wp-content/uploads/2016/09/star_child___from___2001___by_lukasx.jpg , но може и да това, което е в порядъци по-лесно реализируемо https://encrypted-tbn0.gstatic.com/images?q=tbn:ANd9GcRL_iNMvfoeJsyzzLks72fXBV7CY1Kymlp2I9MwcLcwYrhuZZ1j За какво са му потрябвали на ИИ и роботите му хора за друго освен за домашни любимци?
    kpo
  • @velnsl, заради такива мнения като твоето още повече започвам да ненавиждам китайците (angry) За мен те са едни плагиати и паразити и нищо повече. Искаш да кажеш, че всичко на света произлиза от тях ли? Не, те са евтина работна ръка, използвана от развитите страни, които в един момент по примера, че занаят се краде, а не се учи, окрадоха с лека ръка труда на цивилизованите страни и започнаха да “създават” неща, които са им минали през ръцете по поточната верига на производството и да ги представят като свои.
    iWolff
  • Ванка, това, че не си ползваме мозъка на 100% е отдавна разбит от науката мит. Еволюцията не работи така. При автоматизацията човечеството вероятно ще мине през криза, но затова пък я въвеждат бавно и постепенно. Ще има време да се адаптираме.
    tzincbg
  • В доста неща бъркаш, като на част от тях Ванката ти отговори;) Общо взето мислиш на ниво преди стотина години, но всеки има право на мнение (beer)
    Боби13
  • ОК, всеки си има право на мнение! Аз не коментирам чуждото мнение, просто изказвам своето. И знаеш ли, точно, защото си имам принципи и усещам нещата, никога вътрешното ми усещане за правота не ме е подвело. Много неща съм казвал и тук във форума, и на приятели, и на близки, които са се случили на 100%. Аз пък мога да ти кажа, че ти не си прав за това което си написал, че хората нямало какво да работят понеже всичко ще бъде автоматизирано един ден. Напротив - тогава ще се набляга на образованието, децата ще развиват останалите 70-80% от мозъците си в области, които все още не съществуват в 21 век, но и това ще се промени. Няма да има метачи, няма да има черноработници по фабрики и мини, човешкият живот ще стане още по-ценен, значим и продължителен. Медицината и космическите технологии ще напреднат толкова, че свят да ти се завие. Предполагам обаче няма да доживея това фантастично (сега) и вълнуващо бъдеще, което неминуемо ще промени цялата ни планета.
    Ванката
  • Ванка, ще ме извиняваш, но този ми пост ще бъде насочен [b]основно[/b] към теб, твоето мислене! Не ссе сърди! [Quote]но от доказана компания, която инвестира в разработки, а не в кражба на интелектуален труд!!! [/Quote] Може би не знаеш, но името на модела Нива(на Лада) е патентовано от американци. Дали е американски разработка? За това вече Нива не се произвежда. Вече се казва 4х4. Това, обаче не интелектуална кражба. [Quote] Пък другарите от партията им станаха милиардери на гърба на хората, които бачкат като волове. Егати комунизма. [/Quote] Не е комунизъм. Добре е, че това нещо в правова държава като Герберистан това не може да се случи и 3-ма души да притежават цялата държава и да точат огромни пари с нагласени обществени поръчки за милиарди, докато народа мизерства единият пази другите. Нека не пишем инициали. Всички ги знаем. И да докарат европейски просперитет и заплати до 300-350 евро дори извън столицата, а цените някой път и са и над европейските. [Quote] китайска храна и най-много някой моп или покривка, друго жълтурско не тача. Като бял човек и европеец - има си предостатъчно европейски и американски марки.[/Quote] Ако се огледаш в къщи може би 80-90% от нещатак, които притежаваш са китайски. Волю или не волю(както е казал народа). Вече дори знамената, които се продават на 3-март на Шипка са китайски. За съжаление. Аз същ бих искал да инвестирам в български продукти, но къде са те. В Кауфланд? Едва ли. Последният път като влизах там преди 3 години все още бяха масово европейски, но не български. Боклуците на Европа. За европейските фирми е стандарт долинте качества да са за Балканите и не го крият при това. [Quote]Искаме или не, те са нашият шанс за цивилизовано бъдеще и по-добрият избор за освежаване на генофонда.[/Quote] Много точно казано - белите, които спонсорираме по всякакъв начин ни претапят като нация. Искат от нас толерантност към някой крадливи етноси, притискат ни да приемаме бежанци, които те поканиха. А ние трябва да ги боготворим и купуваме боклуците, когато същите те претопиха нашето производство, икомоника и препитание. [Quote]Аз пък ще си купя продукт от компания, която не следва гуруто сляпо и със сигурност няма да е китаец[/Quote] Аз пък бих следвал китайците, така както следвам Марешки. Ако не бяха китайците всички щяха да копират политиката на Айфон и може би до сега телефон щеше да се купва с потечен заем.Китайците правят достъпни цените. белите компании са алчни. Какво са измислили НТС, ЛГ. Какви разработки имат и на каква цена предлагат апаратите си? Взимат всимко на готово и правят пак с големи надценки. Спор няма - Епъл, Самсунг и още 1 или 2 са с новите разработки. [Quote]Ако трябва да се направи една обективна класация, коя държава е най-иновативна, то тогава Китай трябва да се нареди редом с Русия в края на опашката.[/Quote] В сферата на телефоните - да съгласен съм. Иначе не. [Quote]необходимите рестрикции, които започва да налага Тръмп не виждам друг начин да се спре това.[/Quote] Жалко е голям човке все още да не знае каква е целта на "рестрикциите" на Тръмп. Пиши ми на ЛС бих те открехнал. Истината е отвъд БТВ и НоваТВ. [Quote]С нетърпение чакам момента, когато фабриките ще станат напълно автоматизирани и фактора човешка грешка да бъде избегнат.[/Quote] Тогава каво ще правим? Няма да има раотна ръка, няма заплати, няма консумация. Ще има 15-20 несметно-богати и останалото роби. Несметно богатите дори ще разполагат с живота на робите, защото ще могат да си купят правосъдие. Няма да има обори в магазините - хранителни, за техника, за телефони, за автомобил, бензиностанции. Затваря всичко, губят се работни места. Парите ще се влизат в хотели, яхти, острови, наркотици и т.н. Всичко друго, но не и в обикновенният човек. Това ще върне човечеството в родовобощинният строй. [Quote]Не подценявай Америка, момче! Държавата, която втората световна война постави японската империя на колене![/Quote] Да, с яренно оръжие срещу неядрена държава. Супер! Със Северна Корея обаче нещо така и не им се получиха нещата. Защо ли? [Quote]Много държави по света са под шапката на чичо Сам и в един момент този дълг просто да спре да съществува[/Quote] Тук си напълно прав. И ние сме една от тях. Изнасят ни злато за милиарди, но това не е кражба. Ванка, ако имаш имот или изнес в София защо не ми го прехвърлиш? Аз ще ти давам по 1% от всичко изкарано от него. Това обаче не е кражба. Това са пари за отбрана, пенсии на нашите родители, които са изградили България, образование, заплати на хората, които някой са сметнали, че трябва да отнемат. За това трябва още да им наливам, като им купувам боклуците. [Quote]Китайците са опитни зайчета. Скенера е съвместна разработка на Samsung и Synaptics.[/Quote] Аз бих писал обратното. Просто веждата са я пуснали кетайците на Епъл да видят как ще реагират хората. Същото и с пръстовият отпечатък, цветният дисплей, липсата на хард клавиатура. Всичко това първо са изчакали да видят как ще потръгне при белите ипосле са внедрили изпитани технологии в апаритите си.
    velnsl