Други
Microsoft патентова технология за пренос на данни чрез човешкото тяло
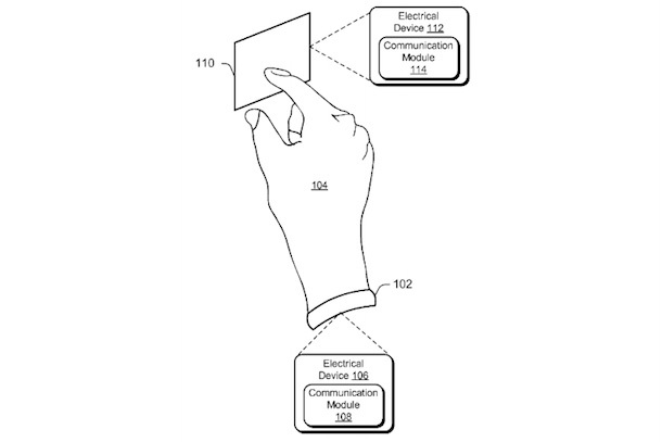
За момента човешкото тяло може да се използва за управление на различни устройства, но Microsoft са решили да отидат по-далеч. Компанията патентова технология, която използва тялото за пренос на данни от едно електронно устройство към друго. Според описаните ситуации на възможна употреба на подобна разработка са идентифициране с кожата, плащане вместо ползване на кредитна карта или пък споделяне на контакти чрез ръкостискане, вместо чрез размяна на визитни картички.
http://1.usa.gov/19ydTfa
http://1.usa.gov/19ydTfa
Оферти на деня
-
Apple iPhone 14 от BUYBEST:
128GB 579 € (1132.43 лв.), 256GB 629 € (1230.22 лв.) -
Samsung Galaxy Z Flip7 от CityTel:
256GB + 12GB RAM 929 € (1816.97 лв.), 512GB+12GB RAM 999 € (1953.87 лв.) -
Apple iPhone 17 Pro Max от TImobile:
256GB 1395 € (2728.38 лв.), 512GB 1655 € (3236.90 лв.), 1TB 1989 € (3890.15 лв.), 2TB 2338 € (4572.73 лв.) -
Samsung Galaxy A57 от BROS:
128GB + 8GB RAM 399 € (780.38 лв.), 128GB 399 € (780.38 лв.), 256GB + 8GB RAM 449 € (878.17 лв.) -
Apple iPhone 13 от SLOT MOBILE:
128GB 536.35 € (1049.01 лв.)
Втора употреба с гаранция
-
Apple iPhone 12 mini от Flip:
64GB 179.99 € (352.03 лв.), 128GB 193.99 € (379.41 лв.), 256GB 242.99 € (475.25 лв.) -
Samsung Galaxy S25 от Flip:
128GB 429.99 € (840.99 лв.), 256GB 527.99 € (1032.66 лв.), 512GB 593.99 € (1161.74 лв.) -
Apple iPhone 11 Pro от Flip:
64GB 181.99 € (355.94 лв.), 256GB 209.99 € (410.70 лв.), 512GB 233.99 € (457.64 лв.) -
Apple iPhone 12 Pro Max от Flip:
128GB 305.99 € (598.46 лв.), 256GB 321.99 € (629.76 лв.), 512GB 379.99 € (743.20 лв.) -
Apple iPhone 11 от Flip:
64GB 164.99 € (322.69 лв.), 128GB 174.99 € (342.25 лв.), 256GB 189.99 € (371.59 лв.)