Мобилни телефони
Патент на Samsung разкрива някои подробности за сгъваемия им телефон
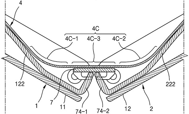
Неведнъж вече е ставало дума, че различни компании разработват телефони със сгъваеми дисплеи. Samsung е едно от най-често споменаваните имена в тази връзка, защото корейците са сред първите, от които очакваме да видим подобно устройство, което ще осигурява голям дисплей, но ще може да се сгъва за по-лесно пренасяне. Нов патент на Samsung разкрива каква конструкция би имал един такъв телефон, който би използвал и гъвкави OLED панели. Документацията описва специален механизъм за пантите, които ще включват зъбни колела, магнитни ключалки, които ще държат телефона затворен, и дизайн, който ще позволи на дисплея да се огъне, без да се счупи.
Източник: BGR
Оферти на деня
-
Samsung Galaxy A56 от AMCO:
128GB + 8GB RAM 296 € (578.93 лв.), 256GB + 8GB RAM 345 € (674.76 лв.) -
Apple iPhone 16 от AMCO:
128GB + 8GB RAM 769 € (1504.03 лв.) -
Samsung Galaxy S25 Ultra от CityTel:
256GB + 12GB RAM 1029 € (2012.55 лв.), 512GB+12GB RAM 1129 € (2208.13 лв.), 1TB + 12GB RAM 1329 € (2599.30 лв.) -
Samsung Galaxy A17 5G от BUYBEST:
128GB + 4GB RAM 169 € (330.54 лв.), 256GB + 8GB RAM 229 € (447.89 лв.) -
Samsung Galaxy A26 от TImobile:
128GB + 6GB RAM 199 € (389.21 лв.), 256GB + 8GB RAM 253 € (494.82 лв.)
Втора употреба с гаранция
-
Apple iPhone 16 от Flip:
128GB 583.99 € (1142.19 лв.), 256GB 737.99 € (1443.38 лв.), 512GB 1003.99 € (1963.63 лв.) -
Samsung Galaxy S25 Ultra от Flip:
512GB 809.99 € (1584.20 лв.), 256GB 813.99 € (1592.03 лв.), 1TB 1033.99 € (2022.31 лв.) -
Samsung Galaxy S25 от Flip:
128GB 469.99 € (919.22 лв.), 256GB 569.99 € (1114.80 лв.), 512GB 635.99 € (1243.89 лв.) -
Apple iPhone 16 Pro от Flip:
128GB 719.99 € (1408.18 лв.), 256GB 803.99 € (1572.47 лв.), 512GB 953.99 € (1865.84 лв.), 1TB 1043.99 € (2041.87 лв.) -
Samsung Galaxy S24 от Flip:
128GB 395.99 € (774.49 лв.), 256GB 399.99 € (782.31 лв.)