Мобилни телефони
RIM патентова ергономична клавиатура за по-бързо писане
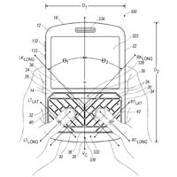
Алтернативните клавиатури за мобилни телефони вече не са необичайно явление на пазара, въпреки че остава спорен въпросът кой е по-удобният модел. Тепърва ще очакваме бъдещето да покаже предпочитания от потребителите вариант. Най-новата разработка е на RIM, които вече са подали документи за патент на технологията. Новата клавиатура на компанията ще е с бутони, разположени под ъгъл от 45 градуса спрямо централната ос на телефона. Ако можем да вярваме на скицата от патента, наистина очакваме клавиатурата да внесе повече лекота при въвеждането на текст в движение.
Оферти на деня
-
Samsung Galaxy A56 от CityTel:
128GB + 8GB RAM 309 € (604.35 лв.), 256GB + 8GB RAM 349 € (682.58 лв.) -
Apple iPhone 16 от SLOT MOBILE:
128GB 736.26 € (1440.00 лв.), 256GB 940.78 € (1840.01 лв.) -
Samsung Galaxy S25 Ultra от Ozone.bg:
256GB + 12GB RAM 1039 € (2032.11 лв.), 512GB+12GB RAM 1149 € (2247.25 лв.) -
Samsung Galaxy A26 от TImobile:
128GB + 6GB RAM 199 € (389.21 лв.), 256GB + 8GB RAM 253 € (494.82 лв.) -
Samsung Galaxy A17 5G от TImobile:
128GB + 4GB RAM 165 € (322.71 лв.)
Втора употреба с гаранция
-
Apple iPhone 15 от Flip:
128GB 403.99 € (790.14 лв.) -
Apple iPhone 15 Pro Max от Flip:
256GB 717.99 € (1404.27 лв.)