Samsung иска да идентифицира потребителите на часовници чрез биометрични данни
Мобилните устройства използват всякакви методи за защита на информацията – пръстови отпечатъци, ПИН кодове и други подобни. При продуктите от сферата на носимата електроника сигурността обаче все още не е на толкова високо ниво, но предвид, че те са натоварени с все повече функции, сред които и възможности за мобилни разплащания, може би е време да се помисли повече и по този въпрос. Samsung са се занимали точно с този проблем и скорошен патент на компанията показва поне една от възможностите.
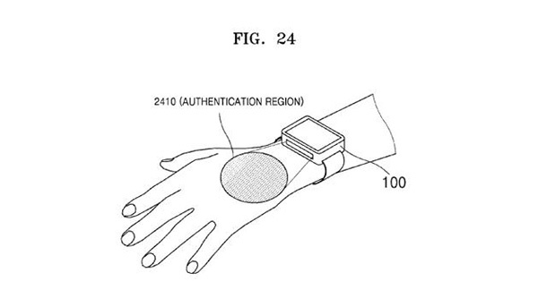
Корейците искат идентифицирането на потребителя като собственик на устройството да става чрез биометрични данни и по-конкретно чрез включването на инфрачервена камера, която ще сканира уникалната конфигурация на вените на китката. В документацията към патента Samsung обръщат повече внимание на възможността за лесно зареждане на профилите на различни потребители, отколкото на защитата на данните, което е интересна гледна точка, тъй като за момента пазара на носима електроника не включва концепцията, че хората често разменят устройствата си.
Източник: Fast Company
Оферти на деня
-
Samsung Galaxy A56 от ОфисиТЕ:
128GB + 8GB RAM 319 € (623.91 лв.), 256GB + 8GB RAM 367 € (717.79 лв.), 256GB + 12GB RAM 423.86 € (829.00 лв.) -
Apple iPhone 16 от Ozone.bg:
128GB 769 € (1504.03 лв.) -
Samsung Galaxy S25 Ultra от SLOT MOBILE:
256GB 980 € (1916.71 лв.), 512GB 1090 € (2131.85 лв.), купи за 1280 € (2503.46 лв.) -
Samsung Galaxy A26 от CityTel:
128GB + 6GB RAM 195 € (381.39 лв.), 256GB + 8GB RAM 245 € (479.18 лв.) -
Samsung Galaxy A17 5G от AMCO:
128GB + 4GB RAM 178 € (348.14 лв.), 256GB + 8GB RAM 209 € (408.77 лв.)
Втора употреба с гаранция
-
Apple iPhone 16 от Flip:
128GB 583.99 € (1142.19 лв.), 256GB 717.99 € (1404.27 лв.), 512GB 1003.99 € (1963.63 лв.) -
Samsung Galaxy S25 Ultra от Flip:
512GB 809.99 € (1584.20 лв.), 256GB 839.99 € (1642.88 лв.), 1TB 1033.99 € (2022.31 лв.) -
Apple iPhone 16 Pro от Flip:
128GB 719.99 € (1408.18 лв.), 256GB 803.99 € (1572.47 лв.), 512GB 953.99 € (1865.84 лв.), 1TB 1043.99 € (2041.87 лв.) -
Samsung Galaxy S25 от Flip:
128GB 469.99 € (919.22 лв.), 256GB 569.99 € (1114.80 лв.) -
Apple iPhone 13 от Flip:
128GB 233.99 € (457.64 лв.), 256GB 313.99 € (614.11 лв.), 512GB 379.99 € (743.20 лв.)