Новини за amazon

Amazon Silk е базиран в облака браузър за Kindle Fire

Amazon Silk е базиран в облака браузър за Kindle Fire

Заедно с новите устройства, които Amazon представи като попълнение към портфолиото си, компанията показа и нова технология за уеб браузъри, която най-напред ще използва в таблета K

Още изненади от Amazon - Kindle за $79 и модел със сензорен екран

Още изненади от Amazon - Kindle за $79 и модел със сензорен екран

Освен таблета Kindle Fire, днес Amazon представи и два четеца за електронни книги, които залагат на традиционния E-ink екран с диагонал 6", а агресивната им цена ще накара кон

Таблетът на Amazon струва само 199 долара

Таблетът на Amazon струва само 199 долара

След броени минути ще започне събитието на Amazon на което очакваме компанията да представи първият си таблет, но докато чакаме за да разберем всички подробности за него, онлайн се

22 Коментара
Таблетът на Amazon ще се казва Kindle Fire

Таблетът на Amazon ще се казва Kindle Fire

Утре Amazon се кани да представи първия си таблет, а с наближаването на заветната дата научаваме все повече детайли за него. Устройството най-вероятно ще се казва Kindle Fire - тов

Таблетът на Amazon ще се появи през ноември на цена от $250

Таблетът на Amazon ще се появи през ноември на цена от $250

TechCrunch са получили малко време за разглеждане на най-новото устройство, което Amazon подготвя за пазара, и бяха любезни да споделят с всички любопитни това, което са научили. Т

Amazon купува още един домейн - KindleWave.com

Amazon купува още един домейн - KindleWave.com

След като на 20 август Amazon купиха два домейна - KindleScribe.com и KindleScribes.com, компанията продължава със закупуването на имена, в които участва името Kindle. Най-новият д

Amazon купи KindleScribe.com и KindleScribes.com

Amazon купи KindleScribe.com и KindleScribes.com

Amazon купиха два домейна - KindleScribe.com и KindleScribes.com. Предположенията съвсем логично са, че те са във връзка с очакващите премиерата си таблети на компанията, за които

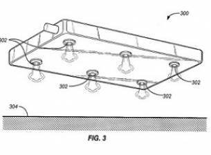
Въздушни възглавници за телефон

Въздушни възглавници за телефон

Смартфоните, както знаем, са все по-ценни с нарастването на количеството информация, която потребителите съхраняват в тях. Шефът на Amazon Джеф Безос явно е решил да изпревари тенд

Amazon UK вече приема предварителни заявки за Samsung Galaxy Tab 8.9

Amazon UK вече приема предварителни заявки за Samsung Galaxy Tab 8.9

Английското подразделение на Amazon започна да приема предварителни заявки за версията на таблета Samsung Galaxy Tab 8.9, която е предназначена за страната. Цената засега ни изглеж

Apple съди Amazon заради името App Store в Германия

Apple съди Amazon заради името App Store в Германия

Докато Apple изчаква в САЩ да започне делото с Amazon относно името App Store, което пък ще стане едва през октомври 2012 г., компанията не си губи времето и е завела ново дело. То

6 Коментара
1
...
34
35
36
...
40