Новини

BlackBerry 10 получи сертификат за висока сигурност

BlackBerry 10 получи сертификат за висока сигурност

RIM може и да губят пазарен дял и смартфоните им отдавна да не са толкова популярни, колкото бяха доскоро, но компанията има и добри новини. Последната от тях е свързана с платформ

Foxconn може би се готви да отвори завод в САЩ

Foxconn може би се готви да отвори завод в САЩ

Според неофициална информация на DigiTimes, Foxconn се готви да отвори подразделение в САЩ. Цялата работа започва с това, че Тери Гоу, който е изпълнителен директор на компанията,

1 Коментар
Skype пуска нова платформа за малкия бизнес

Skype пуска нова платформа за малкия бизнес

Skype пуска интересна нова платформа, която е предназначена за малкия бизнес. Тя се казва In the Workplace и идеята й е да помогне на малки фирми и компании по-лесно да комуникират

Evernote 5.0 за iPhone и iPad пристига с обновен интерфейс

Evernote 5.0 за iPhone и iPad пристига с обновен интерфейс

С най-новата версия на приложението си за бележки за iOS, Evernote са променили изцяло интерфейса му, с което би трябвало то да е станало доста по-удобно за употреба. Голямото коли

Lenovo с рекордни продажби за тримесечието

Lenovo с рекордни продажби за тримесечието

Докато някои компании с всяко тримесечие бележат все по-лоши резултати, други непрекъснато подобряват собствените си рекорди. За щастие не само Apple са от вторите. Lenovo също мог

Humble Bundle за Android осигурява 6 игри на цена, която вие определите

Humble Bundle за Android осигурява 6 игри на цена, която вие определите

Humble Bundle е популярна инициатива с идеална цел, която предлага на потребителите да получат пакет от няколко приложения на цена, която те определят сами, като в същото време час

Apple май успя да патентова правоъгълника

Apple май успя да патентова правоъгълника

Ако смятате да произвеждате правоъгълни устройства с дисплей, е по-добре да се замислите отново върху вашите планове, защото има огромен шанс да нарушите нов патент на Apple. Както

25 Коментара
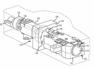
Apple патентова

Apple патентова "Охладителна система за мобилни устройства"

От Apple са внесли нова любопитна заявка за патент. Публикуваните от американското патентно ведомство документи на компанията от Купертино е за... охладителна система за мобилни ус

Впечатляваща технология от Microsoft за превод на глас в реално време

Впечатляваща технология от Microsoft за превод на глас в реално време

Екип от Microsoft Research и представители на университета в Торонто е готов с технология за превод на глас, която отново представя превода като глас с тембъра на превеждания. Всич

20 години от представянето на първия масов GSM телефон

20 години от представянето на първия масов GSM телефон

На 9 ноември 1992 г. Nokia представя първия комерсиален телефон, който използва системата GSM - това е Nokia 1011. Устройството, което е с впечатляващото тегло от 475 грама и има б

23 Коментара
1
...
3775
3776
3777
...
5974